东风汽车集团申请电动汽车制冷量分配方法、装置及车辆专利,实现乘员舱和电池包的制冷量合理分配
2023/12/14 09:00
金融界
2649
0
金融界2023年12月13日消息,据国家知识产权局公告,东风汽车集团股份有限公司申请一项名为“电动汽车制冷量分配方法、装置及车辆“,公开号CN117207845A,申请日期为2023年8月。

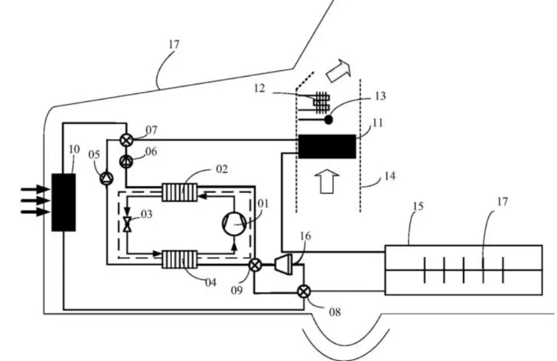
专利摘要显示,本发明公开了一种电动汽车制冷量分配方法、装置及车辆,所述方法包括:获取电动汽车的行车数据、电动汽车的乘员舱所需的第一制冷量以及电动汽车的电池包所需的第二制冷量;若电动汽车当前处于制冷量分级状态,确定行车数据所满足的目标分级预设条件,其中,每种分级预设条件下包含有对应的行车数据范围;

基于分级预设条件和制冷量分配策略之间的预设对应关系,确定与目标分级预设条件对应的目标制冷量分配策略;基于目标制冷量分配策略对第一制冷量以及第二制冷量进行调整,以对乘员舱所需的制冷量和电池包所需的制冷量进行分配。本方案能够实现乘员舱和电池包的制冷量合理分配,兼顾电池包冷却和车内人员的舒适性。
本文源自:金融界
作者:情报员